Zum Hauptinhalt springen Zur Suche springen Zur Hauptnavigation springen
Über 65 Jahre Erfahrung
Qualität: "Made in Germany"
100 Tage Rückgaberecht
Schneller Versand & kostenlose Rücksendung
kompetenter Kundenservice
Zur Startseite gehen

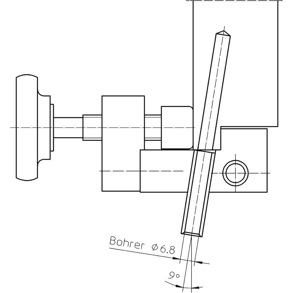
Serienbohrlehre Simonswerk VARIANT V 0020/0026 WF

Produktinformationen "Serienbohrlehre Simonswerk VARIANT V 0020/0026 WF"

SIMONSWERK, Serienbohrlehre, Modell: VARIANT®, Modellnummer: V 0020/0026 WF, DIN-Richtung: DIN Links-Rechts, Anwendung: für Türflügel, für getrennte Bohrung, Inhalt Bohrkörper: 2 St., Inhalt Bohrer 6,5 mm Ø: 1 St., Inhalt Bohrer 12,1 mm Ø: 1 St., Inhalt Anschlaganweisung: 1 St., Inhalt Verbindungsvierkantrohr: 1 St., Inhalt Anschläge: 2 St., Inhalt Anschlagrohr: 1 St.
Basis: Serienbohrlehre
Modellnummer: 0020 / V 0026 WF
DIN-Richtung: DIN Links-Rechts
Inhalt Bohrkörper: 2.00 Stk.
Inhalt Anschlaganweisung: 1.00 Stk.
Anwendung: V 0020, V 0020 RF, V 0020/12,5, V 0026 WF, V 0026 WF RK, V 3420 WF Basic, V 3420 WF Cross, V 3420 WF Soft, V 3420 WF ZK, V 4426 WF Basic, V 4426 WF Cross, V 4426 WF Soft, V 4426 WF Top, V 4426 WF ZK, V 5450, V 8550, für Türflügel, für getrennte Bohrung
Inhalt Bohrer 12,1 mm Ø: 1.00 Stk.
Inhalt Anschläge: 2.00 Stk.
Inhalt Bohrer 6,5 mm Ø: 1.00 Stk.
Inhalt Verbindungsvierkantrohr: 1.00 Stk.
Inhalt Anschlagrohr: 1.00 Stk.
Modellbezeichnung: Anwendungstechnik
Loading...
Dateien werden hochgeladen, bitte warten...